• OMX Baltic−0,26%292,68
  • OMX Riga−0,48%906,44
  • OMX Tallinn−0,46%1 916,18
  • OMX Vilnius−0,31%1 258,46
  • S&P 5000,25%6 671,19
  • DOW 300,83%46 451,26
  • Nasdaq −0,26%22 634,79
  • FTSE 1000,1%9 452,77
  • Nikkei 225−2,58%46 847,32
  • CMC Crypto 2000,00%0,00
  • USD/EUR0,00%0,86
  • GBP/EUR0,00%1,15
  • EUR/RUB0,00%92,29
  • OMX Baltic−0,26%292,68
  • OMX Riga−0,48%906,44
  • OMX Tallinn−0,46%1 916,18
  • OMX Vilnius−0,31%1 258,46
  • S&P 5000,25%6 671,19
  • DOW 300,83%46 451,26
  • Nasdaq −0,26%22 634,79
  • FTSE 1000,1%9 452,77
  • Nikkei 225−2,58%46 847,32
  • CMC Crypto 2000,00%0,00
  • USD/EUR0,00%0,86
  • GBP/EUR0,00%1,15
  • EUR/RUB0,00%92,29
  • 22.11.14, 02:50
Tähelepanu! Artikkel on enam kui 5 aastat vana ning kuulub väljaande digitaalsesse arhiivi. Väljaanne ei uuenda ega kaasajasta arhiveeritud sisu, mistõttu võib olla vajalik kaasaegsete allikatega tutvumine

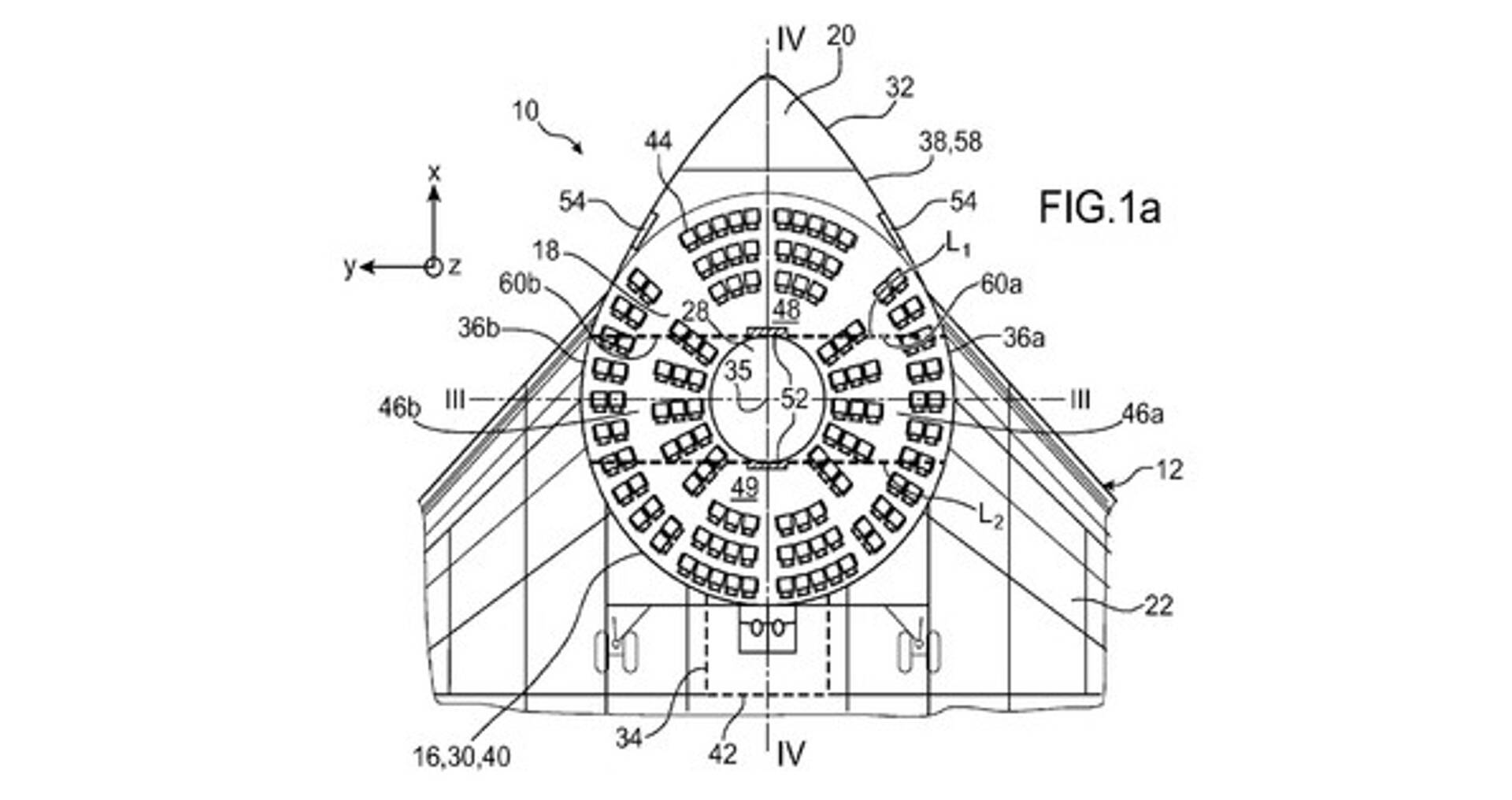
Airbus patenteeris lendavad sõõrikud

Airbusi disain uuele ja futuristlikule õhusõidukile ei näe välja väga tavapärane. Kui patenditaotlus lennuki disaini jaoks läbi läheb, võivad reisijad tulevikus oma turvavööd kinnitada lennukis, mis näeb välja nagu hiiglaslik sõõrik. Või hoopis lendav taldrik, kirjutab Financial Times.
Airbus
  • Airbus
  • Foto: Bloomberg
Lendava taldriku taoline kuju aitab lahendada probleemi, millega on silmitsi traditsiooniliste õhusõidukite projekteerijad. Tavaliste lennukite silindrilised kujud aitavad rõhku tagasi hoida, kuid selleks on vaja esi- ja tagaots kindlustada ülimalt tugevate ja raskete struktuuridega.
 
Airbusi uue disainiga patenteeritud sõõrikukujuline lennuk.
  • Airbusi uue disainiga patenteeritud sõõrikukujuline lennuk.
  • Foto: Espacenet
„Selle leiutise eesmärk on pakkuda lihtne, majanduslik ja tõhus lahendus nendele probleemidele, või vähemalt osaliselt neid probleeme lahendada,“ kirjutas Airbus oma patenditaotluses.

Artikkel jätkub pärast reklaami

Airbus ütles, et ehkki projekt on piisavalt väärtuslik, et seda kaitsta patendiga – nagu ka umbes 6000 ülejäänud ideed, mida ettevõtte insenerid iga aasta välja töötavad – pole see idee koheselt teostatav ja lendavad taldrikud ei hakka Heathrow ja JFK lennujaamade vahel sõitma. „See ei ole midagi, mis oleks aktiivses arendustöös,“ seletas Airbus.
Ettevõttel on ka muid veidraid ja futuristlikke ideid. Näiteks on lastud patenteerida jalgrataste sadulatest koosneva esimese klassi istmed, mis on mõeldud seisvatele reisjatele. Samuti on patenteeritud virtuaalse reaalsuse kiivrid, mis pakuks lennu ajal reisijatele meelelahutust. Mis on aga kõige murettekitavam – Airbus on patenteerinud ka juhikabiinid, millel pole aknaid.
„Lendav sõõrik“ on aga vaieldamatult ettevõtte kõige radikaalsem õhusõiduki struktuuri taasleiutamine. „Lihtne ja tõhus“ ei tähenda ainult seda, et serveerimislauad peavad kaardus vahekäikudes toimetama. Selline struktuur kujundab täielikult ümber ka lennukisse mineku – patendi diagrammid näitavad, et reisijad sisenevad sõidukisse „sõõriku“ all asuvate uste kaudu, mis on paigaldatud ringis ümber sõõriku keskmes oleva augu.
Disain on tegelikult kooskõlas nii mõnegi lennundusettevõtte kontseptsiooniga sellest, milline võiks olla järgmine samm vähendamaks drastiliselt lennukite kütusekulu. General Electricu lennundusüksuse GE Aviationi inseneritehnoloogiate juht Chris Lorence ütles, et Airbusi loodud disain võib aerodünaamiliselt olla tunduvalt tõhusam kui traditsioonilise konstruktsiooniga lennukid. „See on lähenemine, mis vähendab lennuki üldist kütusekulu,“ selgitas Lorence.
Loren Thompson, kes on Virginias asuva ja Boeingult rahastust saava Lexingtoni Instituudi analüütik, väljendas aga oma skeptitsismi, mida ka paljud reisijad võivad tunda. „Ma ei ole kunagi näinud, et keegi pakuks õhust raskema sõiduki puhul sellise kujuga disaini,“ ütles analüütik ning võrdles Airbusi uut sõidukit õhulaeva või kosmosesõidukiga.

Seotud lood

Hetkel kuum

Podcastid

Tagasi Äripäeva esilehele